Skip to main content

苹果获新专利:Apple Pencil 或可改变物理形态以模拟多种工具手感苹果公司获批一项名为“具有可调节特性的手写笔”新专利,旨在让 Apple Pencil 能够根据使用场景改变物理形态

  1. 苹果获新专利:Apple Pencil 或可改变物理形态以模拟多种工具手感

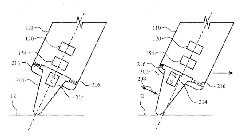
    苹果公司获批一项名为“具有可调节特性的手写笔”新专利,旨在让 Apple Pencil 能够根据使用场景改变物理形态。专利显示,该设备可通过调整笔尖角度、触觉反馈、重心分布及硬度,模拟钢笔、粉笔或画笔等不同工具的真实触感。

    技术层面,苹果计划利用磁流变液与电磁铁改变笔尖粘度,并可能引入可移动笔尖和触控表面。这一研究若能落地,将使 Apple Pencil 在绘画与书法创作中实现更深度的软硬件协同。

    AppleInsider

    🍀在花频道 🍵茶馆聊天 📮投稿
    🤯 382 👍 80 18 👀 6 🤔 5 🥱 4 ❤️ 3 😁 2