Skip to main content

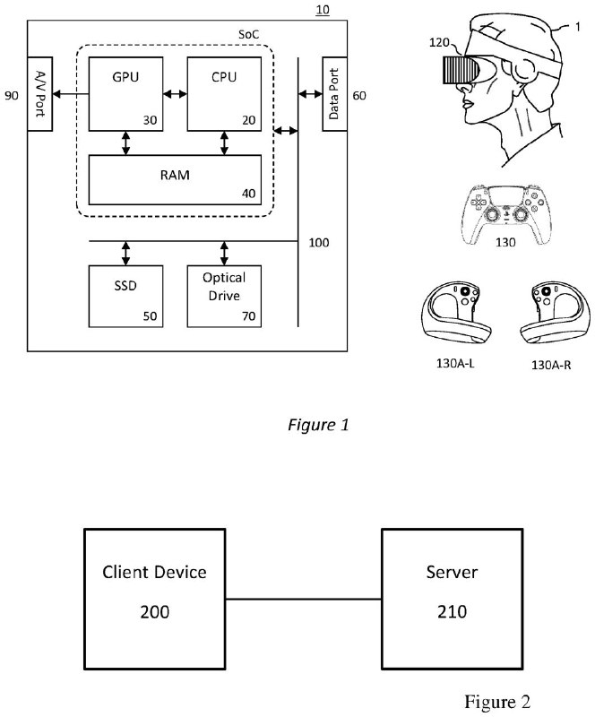
索尼探索流式传输游戏资源,100 GB 游戏核心文件仅有 100 MB根据索尼一项新专利,提出用“本地核心文件 + 云端流式资产”的方式,把动辄 100 GB 的 AAA 游戏下载量压到约 100 MB,并强调不引入输入延迟或掉帧

  1. 索尼探索流式传输游戏资源,100 GB 游戏核心文件仅有 100 MB

    根据索尼一项新专利,提出用“本地核心文件 + 云端流式资产”的方式,把动辄 100 GB 的 AAA 游戏下载量压到约 100 MB,并强调不引入输入延迟或掉帧。

    方案是本地仅下载启动器、关键逻辑与必要技术文件,纹理和音频等大体积资源通过网络按需/预取流式传输;网络差时可能转为低画质资源,无网则可能仅能低质量运行或受限。

    WIPO

    🍀在花频道 🍵茶馆聊天 📮投稿
    🤪 247 👎 61 🤯 19 ❤️ 18 👍 17 🤣 16 🤔 10 🤩 7